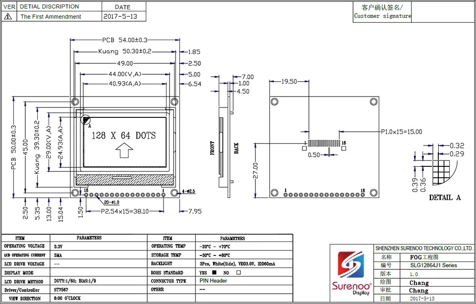
Графический ЖК-модуль 2,0 дюйма, 54 х50 мм, 12864 дюйма, х64, LCM, встроенный ST7565PR, Поддержка параллельногопоследовательного SPI
SURENOO Official Store - Надежность 98.25%
Более 2786 подписчиков, дата открытия магазина 11.05.2010
- Положительные оценки: 99% (1070)
- Соответствие описанию: 98%
- Отвечает на сообщения: 98%
- Скорость отправки: 98%
Последнее обновление: 05.06.2022
Отзывы покупателей
Страна: FR Color: 5.0V Blue with PCB Доставка: Standard Shipping 22.02.2021
delivery in 18 days. Good quality.
Страна: SG Color: 5.0V White with PCB Доставка: Standard Shipping 28.09.2020
Получил, но еще не протестирован
A***y
Страна: IL Color: 5.0V Blue with PCB Доставка: Standard Shipping 11.10.2020
Очень хорошо!
F***r
Страна: FR Color: 5.0V Blue with PCB Доставка: Standard Shipping 09.01.2021
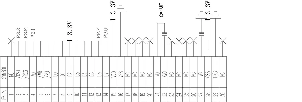
По умолчанию LCD настроен в последовательном режиме (Версия 5 В). Если вы хотите использовать его в параллельном режиме, вам нужно удалить резисторы R2 и R8 до R13, а затем короткое замыкание R1. В описании товара нет большой информации... В противном случае ЖК-дисплей работает хорошо и был отправлен быстро.























