Автомобильная противоугонная система NFLH LH002 B9 GSMGPS, популярная на русском рынке
CENMAX ST Store - Надежность 94.25%
Более 324 подписчиков, дата открытия магазина 20.09.2019
- Положительные оценки: 95% (858)
- Соответствие описанию: 94%
- Отвечает на сообщения: 94%
- Скорость отправки: 94%
Последнее обновление: 09.10.2024






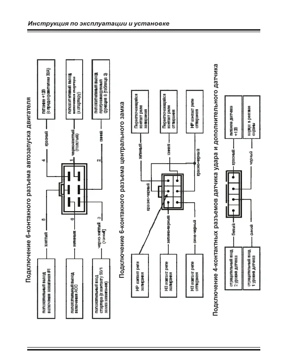
Анализ общих проблем: 1. GSM не работает, и система не может быть использована вообще: сначала Проверьте формат sim-карты, вам нужна sim-карта, которая поддерживает сеть 2G для ее использования. После того, как SIM работает нормально, индикатор силы сигнала в левом верхнем углу приложения изменится от серого до оранжевого, что означает, что SIM работает. Нормально. 2. Система LH002 была сопоставлена с параметрами, прежде чем выходить из фабрики, и она может использоваться нормально без повторного соответствия пульта дистанционного управления и модуль управления мобильный телефон; 3. GPS не может найти неисправность. Пожалуйста, проверьте, установлена ли Антенна GPS. GPS должен быть установлен на приборной панели автомобиля без каких-либо препятствий. Gps-сигналы не могут быть получены в здании, и gps-сигналы должны быть получены на открытой местности. Сигнал. Основные военные базы, многие военные базы будут блокировать gps-сигналы в больших масштабах. 4. Не удается получить информацию о тревоге автомобиля, пожалуйста, найдите разрешение в настройках телефона, найдите NFLH-APP, разрешите все разрешения и позвольте приложению работать в фоновом режиме. 5. Монтажная проводка, Примечание: отдельный красный провод подключен к положительному полюсу 12 В, а отдельный белый провод подключен к ВКЛ (ACC) на хосте сигнализации. Если этот провод не подключен, трек для вождения не может быть записан.
NFLH LH001 B9 GSM/GPS мобильный телефон, управление автомобилем GSM/GPS, автомобильная двойная Противоугонная сигнализация, популярная на российском рынке
Уважаемые покупатели, все!
Я очень рад, что все выбрали продукцию серии 001. Эта система основана на противоугонной системе B9, которая добавляет функции управления мобильный телефон. Пользователи могут установить приложения, зарегистрировать идентификационные данные и получить разрешение, чтобы начать использовать приложение в мобильный телефон для управления автомобилем. В то же время система также оснащена двухсторонним пультом дистанционного управления, который может управлять автомобилем одновременно.
Экономичный и практичный, хорошее качество и низкая цена.







-
Вес логистики1.200
-
Дистанционное управлениеДа
-
Каждая упаковка1
-
Минимальная единица измерения100000015
-
Название брендаNFLH
-
ОписаниеУдаленный мониторинг сети GSM в режиме реального времени
-
Продано Вsell_by_piece
-
ПроисхождениеКитай
-
Размер логистики - высота (см)8
-
Размер логистики - длина (см)32
-
Размер логистики - ширина (см)25
-
СертификацияЕвропейский сертификат соответствия
-
ТипGSM
-
Тип принадлежностиСпециальные детали противоугонной системы
-
Тип пульта дистанционного управленияС дистанционным пультом управления ЖК-дисплеем
-
ЦветBlack
Отзывы покупателей
Страна: RU Доставка: Standard Shipping 26.09.2021
наши Симки не видит, спор открывать поздно, не советую.





