2 шт.лот точные часы в реальном времени DS1302 для DIY StarterDS3231 IIC модуль часов в реальном времени для Ardunio Raspberry Pi AT24C32
Digital Good Store - Надежность 94%
Более 20125 подписчиков, дата открытия магазина 25.07.2011
- Положительные оценки: 96% (1309)
- Соответствие описанию: 94%
- Отвечает на сообщения: 94%
- Скорость отправки: 92%
Последнее обновление: 10.05.2022
2 шт./лот точные часы в реальном времени DS1302 для DIY StarterDS3231 IIC модуль часов в реальном времени для Ardunio Raspberry Pi AT24C32
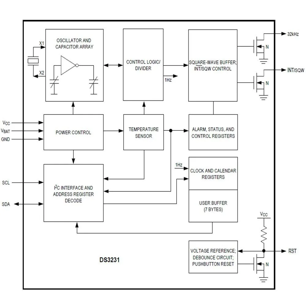
DS3231-это недорогие, чрезвычайно точные часы I2C в режиме реального времени (RTC) с интегрированным кристаллическим осциллятором с температурной компенсацией (TCXO) и кристаллом. Устройство включает в себя вход батареи, отсоединить основной источник питания и поддерживает точное время хранения. Интегрированный осциллятор улучшает долгосрочную точность устройства и уменьшает количество компонентов производственной линии. В DS3231 доступен в коммерческих и промышленных температурных режимов, с помощью 16-контактный диагностический 300mil так посылка.
RTC поддерживает секунды, минуты, часы, день, дату, месяц и информацию о годе. Менее 31 дня месяца, дата окончания будет автоматически изменена, включая корректировки для високосного года. Часы работают В или 24 часа или полосового/AM / PM индикация в 12-часовом формате. Предоставляет два настраиваемых будильника и календарь можно установить на квадратный волновой выход. Адрес и данные передаются серийно через двунаправленный автобус I2C.
Прецизионно-компенсированное напряжение и схема компаратора отслеживают состояние VCC для обнаружения сбоев питания, обеспечивают выход сброса и при необходимости автоматически переключаются на резервный источник питания. Кроме того, RST pin отслеживается как генерирующий сброс μP вручную.
Экономия времени и высокая точность добавления, DS3231 также имеет некоторые другие функции, которые расширяют хост системы дополнительных функций и ряд вариантов. Устройство интегрирует очень точный цифровой датчик температуры, через интерфейс I2C * для доступа к нему (как в то же время). Точность датчика температуры составляет ± 3 ° C. Схема управления питанием на чипе может автоматически обнаруживать и управлять основным и резервным питанием (т. Е., низковольтным аккумулятором) для переключения между источником питания. Если основной сбой питания, устройство может продолжать обеспечивать точное время и температуру, производительность не влияет. Когда основная мощность повторного питания или значение напряжения возвращается в пределах допустимого диапазона, функция сброса на чипе может использоваться для перезапуска микропроцессора системы.
Модуль параметры:
1 Размер: 38 мм (длина) * 22 мм (Ш) * 14 мм (высота)
2 Вес: 8 г
3 Рабочее напряжение: 3,3-5 .5 V
4 чипа часов: Высокоточный чип DS3231
Точность 5 часов: диапазон 0-40 °, точность 2ppm, ошибка около 1 минуты
6 календарных будильников с двумя
7 программируемых квадратных волн
8 генераторов часов реального времени Секунды, минуты, часы, день, дата, месяц и год и обеспечить действительную компенсацию до 2100 високосного года
9 чип Датчик температуры поставляется с точностью ± 3 °
10 чипов памяти: AT24C32 (объем памяти 32K)
11. Интерфейс шины IIC, максимальная скорость передачи 400 кГц (рабочее напряжение 5 В)
12 может быть каскадным с другим IIC устройством, 24C32 адреса могут быть сокращены A0/A1/A2 изменить адрес по умолчанию 0x57
13 с перезаряжаемой батареей LIR2032, чтобы обеспечить работу системы после выхода из строя, часы перемещают любую естественную норму
14 Упаковка: одиночная Антистатическая упаковка
Инструкции по проводке (например, для Arduino uno r3):
SCL & rarr; A5
SDA & rarr; A4
VCC и rarr; 5V
GND & rarr; GND
Отгрузочная ведомость:
1.DS3231 Модуль a (протестированная хорошая Антистатическая упаковка)
Обратите внимание: не inclue батарея, для этого понадобится только 0,01 долларов, это не Сафти для доставку службой воздушная почта. Надеюсь на ваше понимание
(2) электронные данные файлов (включая процедуры тестирования для Arduino, схемы формата PDF, лист данных)



Описание:
DS1302-это чип зарядки часов из Далласа, который содержит часы/календарь в реальном времени и 31 байт статической оперативной памяти для связи с микроконтроллером через простой последовательный интерфейс. Часы/календарь в режиме реального времени обеспечивают секунды, минуты, часы, дни, недели, месяцы, годы информации, количество дней в месяц и Високосный год количество дней может быть изменено автоматически. Время работы часов может определяться индикацией AM / PM в формате 24 или 12 часов. (1) RST reset (2) I / O data lines (3) SCLK serial clock. (1) RST reset (2) I / O data lines (3) SCLK serial clock. Часы/RAM чтение/запись данных в байте или до 31 байта группового общения символов. Потребление энергии DS1302 очень низкое для сохранения данных и информации о часах, когда мощность меньше 1 мВт
Особенности:
Часы в режиме реального времени с 2100 могут быть рассчитаны до секунд, минут, часов, дней, недель, месяцев, лет способности, а также високосный год регулировки 31 8-битный временного хранения данных Оперативная память Режим последовательного ввода/вывода делает вывод меньше Широкий диапазон рабочего напряжения 2,0 V Рабочая сила тока 2,0 V, меньше, чем 300nA Часы чтения/записи или данные RAM, Есть два способа передачи одного байта передачи и многобайтовый режим передачи символов группы 8-pin DIP посылка или опционально 8-pin SOIC посылка в соответствии с поверхностного монтажа Простой 3-х проводное интерфейс Совместим с TTL Vcc = 5 В Дополнительный диапазон промышленной температуры-40 + 85 Двойной источник питания для основного источника питания и резервного питания Параметры модуля часов в реальном времени DS1302: 1.PCB для одной панели, размер: 44 мм * 23 мм * 1,6 мм 2. С 4 отверстия для позиционирования, диаметр 3,1 мм 3. Запасная батарея для аутентичной небесной сферы CR2032, напряжение 3 В, ток 260 мА · ч, неперезаряжаемая батарея. Теоретическое время хранения данных более 10 лет! 4. Кристалл 32,768 кГц, J
Посылка включает в себя:
1 шт. DS1302 модуль часов в реальном времени





-
Feature 1Real Time Clock Module
-
Feature 2Real Time Clock Module for Ardunio
-
Feature 3Real Time Clock Module for Raspberry Pi
-
Feature 4Ardunio Raspberry Pi Real Time Clock Module
-
Feature 5Precision Real Time Clock
-
Feature 6DS1302 Real Time Clock Module
-
Feature 7DS3231Real Time Clock Module
-
Вес логистики0.040
-
Каждая упаковка2
-
Минимальная единица измерения100000015
-
Название брендаNODEMCU LUA
-
Продано Вsell_by_lot
-
ПроисхождениеКитай
-
Размер логистики - высота (см)2
-
Размер логистики - длина (см)12
-
Размер логистики - ширина (см)8
-
СовместимостьFor Arduino
-
Тип аксессуараУдлинительная доска





